Getstudysolution is an online educational platform that allows students to access quality educational services and study materials at no cost.
Question 1.
Which of the following correctly describes the magnetic field near a long straight wire ?
(a) the field consists of straight lines perpendicular to the wire
(b) the field consists of straight lines parallel to the wire
(c) the field consists of radial lines originating from the wire
(d) the field consists of concentric circles centered on the wire.
Answer:
(d) the field consists of concentric circles centered on the wire.
Question 2.
The phenomena of electromagnetic induction is
(a) the process of charging a body
(b) the process of generating magnetic field due to current passing through a coil
(c) producing induced current in a coil due to relative motion between a magnet and the coil
(d) the process of rotating a coil of an electric motor.
Answer:
(c) producing induced current in a coil due to relative motion between a magnet and the coil.
Question 3.
The device used for producing electric current is called a
(a) generator
(b) galvanometer
(c) ammeter
(d) motor. (Bihar Board 2012)
Answer:
(a) generator
Question 4.
The essential difference between an AC generator and a DC generator is that
(a) AC generator has an electromagnet while a DC generator has permanent magnet
(b) DC generator will generate a higher voltage
(c) AC generator will generate & higher voltage
(d) AC generator has slip rings while the DC generator has a commutator.
Answer:
(d) AC generator has slip rings while the DC generator has a commutator.
Question 5.
At the time of short circuit, the current in the ciruit
(a) reduces substantially
(b) does not change
(c) increases heavily
(d) vary continuously. (Bihar Board 2012)
Answer:
(c) increases heavily
Question 6.
State whether the following statements are true or false :
(a) an electric motor converts mechanical energy into electrical energy ‘
(b) an electric generator works on the principle of electromagnetic induction
(c) the field at the centre of a long circular coil carrying current will be parallel straight lines
(d) a wire with a green insulation is usually the live wire.
Answer:
(a) False. It converts electrical energy into mechanical energy.
(b) True.
(c) True.
(d) False. Five wire has red insulation cover.
Question 7.
List three sources of magnetic fields. (CBSE 2013)
Answer:
Question 8.
How does a solenoid behave like a magnet ? Can you determine the north and south poles of a current carrying solenoid with the help of a bar magnet. Explain. (CBSE 2012, 2013)
Answer:
When electric current flows through a solenoid, magnetic field is set up around the solenoid. The pattern of the magnetic field is same as that of the magnetic field of a bar magnet. One end of the solenoid behaves as north pole and the other end of the solenoid behaves as south pole.
To determine the north and south poles of a current carrying solenoid with the help of a bar magnet, suspend it with a strong thread. Now bring the north pole of a bar magnet towards one end of the solenoid. If the solenoid attracts towards the magnet, then that face of the solenoid is south pole. If the bar magnet moves away from the solenoid, then that face of the solenoid is the north pole.
Question 9.
When is the force experienced by a current carrying conductor placed in magnetic field is the largest ?
[CBSE, (All India) 2009, 2010]
Answer:
When current carrying conductor is placed perpendicular to the magnetic field.
Question 10.
Think you are sitting in a chamber with your back to one wall. An electron beam moving horizontally from back wall towards the front wall, is deflected by a strong magnetic field to your right side. What is the direction of magnetic field ?
Answer:
Movement from electron beam from back wall to the front wall is equivalent to the flow of electric current from front wall to the back wall. The deflection of the beam means, the force is acting towards our right side. According to Fleming’s Left Hand Rule, the direction of magnetic field is vertically downward. That is, the magnetic field is perpendicular to the plane of the paper and directed inward.
Such magnetic field is shown by ⊗.

Question 11. Question 12. Question 13. Name the phenomenon involved in the above cases. Question 14. Question 15. Answer: Question 16. AC generator: AC generator converts mechanical energy into electrical energy in the form of alternating current or AC. Working : When the armature coil ABCD rotates in the magnetic field provided by the strong field magnet, it cuts the magnetic field lines. Thus, the changing magnetic field produces induced current in the coil. The direction of the induced current in the coil is determined by the Fleming’s right hand rule. Working of d.c. generator: When the coil of d.c. generator rotates in the magnetic field, induced potential difference is produced in the coil. This induced potential difference gives rise to the flow of current through the bulb and hence the bulb glows. Question 17. Question 18. Question 1. Question 2. Question 3. Question 4. Question 5. Question 6. The uniform magnetic field is represented by parallel, equidistant lines of equal length as shown in figure below
Draw a labelled diagram of an electric motor. Explain its principle and working. What is the function of a split ring in an electric motor ?
Answer:
Electric motor converts electrical energy into mechanical energy.
Principle: It works on the principle of the magnetic effect of current. A current-carrying coil rotates in a magnetic field.
Working: When a current is allowed to flow through the coil MNST by closing the switch, the coil starts rotating anti-clockwise. This happens because a downward force acts on length MN and at the same time, an upward force acts on length ST. As a result, the coil rotates anti-clockwise.
Current in the length MN flows from M to N and the magnetic field acts from left to right, normal to length MN. Therefore, according to Fleming's left hand rule, a downward force acts on the length MN. Similarly, current in the length ST flows from S to T and the magnetic field acts from left to right, normal to the flow of current. Therefore, an upward force acts on the length ST. These two forces cause the coil to rotate anti-clockwise.
After half a rotation, the position of MN and ST interchange. The half-ring D comes in contact with brush A and half-ring C comes in contact with brush B. Hence, the direction of current in the coil MNST gets reversed.
The current flows through the coil in the direction TSNM. The reversal of current through the coil MNST repeats after each half rotation. As a result, the coil rotates unidirectional.
The split rings help to reverse the direction of current in the circuit. These are called the commutator.
Name some devices in which electric motors are used.
Answer:
Electric cars, rolling mills, electric fans, hair dryers, mixers, blenders etc.
A coil of insulated copper wire is connected to a galvanometer. What will happen if a bar magnet is
(CBSE 2010, Term I, 2011, 2012, 2013, 2014)
Answer:
Phenomenon involved in electromagnetic induction.
Two circular coils A and B are placed close to each other. If the current in the coil A is changed, will some current be induced in the coil B 1 Give reason. (CBSE 2010, 2012)
Answer:
When current in coil A is changed, a changing magnetic field is set up around it. This changing magnetic field also links with coil B and hence some current will be induced in coil B due to electromagnetic induction.
State the rule to determine the direction of a
(CBSE 2010, 2011, 2014)
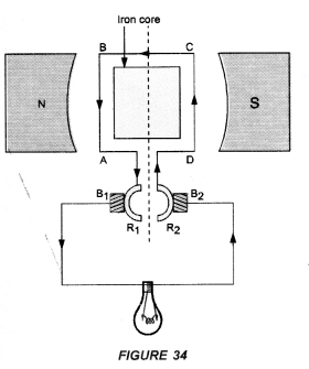
Explain the underlying principle and working of an electric generator by drawing a labelled diagram. What is the function of brushes ?
Answer:
An electric device used to convert mechanical energy (kinetic energy) into electrical energy (electricity) is called an electric generator.
Principle: Electric generator works on the principle of electromagnetic induction. When the coil of electric generator rotates in a magnetic field, induced current flows in the circuit connected with the coil.
types of electric generator
DC generator: DC generator converts mechanical energy into electrical energy in the form of direct current or DC. AC Generator Construction : The main components of AC generator are (Figure 33) :

The current flows out through the brush B1 in one direction in the first half of the revolution and through the brush B2 in the next half revolution in the reverse direction. This process is repeated. Therefore, induced current produced is of alternating nature. Such a current is called alternating current.
DC generator or Dynamo Construction:

In d.c. generator, the flow of current in the circuit is in the same direction as long as the coil rotates in the magnetic field. This is because one brush is always in contact with the arm of the armature moving up and the other brush is in contact with the arm of the armature moving downward in the magnetic field.
Note: AC generator can be converted into DC generator by replacing slip rings used in AC generator by a split ring type commutator.
Brushes are kept pressed on to two slip rings separately. Outer ends of brushes are connected to the galvanometer. Thus, brushes help in transferring current from coil to the external circuit.
When does an electric short circuit occur ? (CBSE 2013)
Answer:
When live wire and neutral wire touch each other (i.e. come in direct contact.), the resistance of the circuit becomes small and hence large amount of current flows through it. As a result, large amount of heat is produced and the circuit catches fire.
What is the function of an earth wire ? Why is it necessary to earth metallic casings of electric appliances ? (CBSE 2010, 2011, 2012, 2013, 2015)
Answer:
Earth wire acts as a safety measure. When the live wire touches the metallic casing of an electric appliance, the electric current flows from the casing of the appliance to the earth through the copper wire. As the earth offers very’ low or almost no resistance to the flow of current, so large current passes through the copper wire instead of human body. This large current heats the circuit and hence the fuse in the circuit melts. As a result of this, the circuit is switched off automatically and hence the electric appliance is saved from burning and the human body suffers no electric shock.In-Text Questions
Why does a compass needle get deflected when brought near a bar magnet ?
Answer:
Compass needle is a small magnet which experiences a force in the magnetic field of a bar magnet. Due to this force, it gets deflected.
Draw magnetic field lines around a bar magnet. (CBSE 2011, 2012, 2013, 2014)
Answer:

List the properties of magnetic field lines. (CBSE 2015)
Answer:
Why do not two magnetic field lines intersect each other ? (CBSE 2011, 2012, 2015)
Answer:
If two magnetic field lines intersect then at the point of intersection the compass needle shows two different directions, which is not possible, hence they do not intersect with each other.
Consider a circular loop of wire lying in the plane of the table. Let the current pass through the loop clockwise. Apply the right hand rule to find out the direction of magnetic field inside and outside the loop.
(CBSE (Delhi) 2009)
Answer:
Magnetic field inside the loop is perpendicular to the plane of table and in the downward direction. However, outside the loop, magnetic field is perpendicular to the plane of the table and in the upward direction.
The magnetic field in a given region is uniform. Draw a diagram to represent it.
(CBSE 2011, 2012, 2015)
Answer:

Question 7.
Choose the correct option :
The magnetic field inside a long straight solenoid carrying current is :
(a) zero
(b) decreases as we move towards its ends .
(c) increases as we move towards its ends
(d) is the same at all points.
Answer:
(d) is the same at all points.
Question 8.
Which of the property a proton can change when it moves freely in a magnetic field ? (There may be more than one correct answer).
(a) mass
(b) speed
(c) velocity
(d) momentum.
Answer:
A force acts on a proton when it moves freely in a magnetic field. Hence its (C) velocity and (D) momentum can change.
Question 9.
In activity 13-7 (NCERT book), how do we think the displacement of rod AB will be affected if
Answer:
The displacement of rod AB is increased due to magnetic force exerted on it, if :
(i) If the current in the rod is increased then rod will be deflected with greater force.
(ii) If a stronger horse-shoe magnet is used then also rod will be deflected with greater force due to the increase in magnetic field.
(iii) If the length of the rod AB is increased.
Question 10.
A positively charged partical (alpha partical) projected towards west is deflected towards north by a magnetic field. The direction of magnetic field is
(a) towards south
(b) towards east
(c) downward
(d) upward.
Answer:
(d) upward
Question 11.
State Fleming’s left hand rule with a labelled diagram. (CBSE 2005, 2010, 2011, 2012)
Answer:
According to Fleming’s left-hand rule, if we stretch the thumb, the fore-finger and the middle finger of our left hand perpendicular to each other, then if the fore-finger points in the direction of magnetic field and the middle finger points in the direction of current, then the thumb will point towards the direction of force or motion acting on the conductor.
Question 12.
What is the principle of electric motor ? (CBSE 2012)
Answer:
The working principle of electric motor is based on the magnetic effect of current. A current carrying conductor when placed in a magnetic field experiences force and rotates.
Question 13.
What is the role of the split ring in an electric motor ?
Answer:
The split-ring in an electric motor reverses the direction of current in the armature coil of the motor. Therefore, the direction of the force acting on the two arms of the coil is also reversed. As a result of this, the coil of d.c. motor continues to rotate in the same direction.
Question 14.
Explain different ways to induce current in a coil. (CBSE 2010, 2011, 2012)
Answer:
Question 15.
State the principle of electric generator.
Answer:
It is based on the principle of electromagnetic induction. That is, the changing magnetic field induces current in the coil.
Question 16.
Name some sources of direct current. (Bihar Board 2012, 2015)
Answer:
A dry cell, a battery, a solar cell, d.c. generator etc. are some sources of direct current.
Question 17.
Which source produces alternating current ?
Answer:
AC generator (which converts mechanical energy into alternating current or electricity) and an oscillator (a device which converts D.C. into A.C.) are the sources which produce alternating current.
Question 18.
Choose the correct option :
A rectangular coil of copper wires is rotated in a magnetic field. The direction of the induced current changes once in each
(a) two revolutions
(b) one revolution
(c) half revolution
(d) one-fourth revolution,
Answer:
(c) half revolution
Question 19.
Name two safety measures commonly used in electric circuit and appliances.
(CBSE 2010, 2012, 2014, 2015)
Answer:
Question 20.
An electric oven of 2 kW power rating is operated in a domestic electric circuit (220 V) that has a current rating of 5 A. What result do you expect ? Explain. (CBSE 2010, 2011, 2012, 2013, 2014)
Answer:
P = 2 kW = 2000 W and V = 220 V

This shows that current flowing through the oven is more than the current rating (5 A). Hence, the fuse in the circuit melts and oven is saved from damage.
Question 21.
What precautions should be taken to avoid the overloading of domestic electric circuit ? (CBSE 2010, 2011, 2012, 2015)
Answer: